深海工程地质原位观测是海洋科学向深海进军的重要手段,对于揭示深海动力作用下现代沉积物发生的动态响应过程、深入认识海洋动力地质过程具有重要作用。为实现对深海底孔压的直接观测,普遍使用的方法是布放孔压探杆,一般采用重力式贯入的方法,依靠自重将设备压入到海床沉积物中。
基于光纤光栅压差式孔压传感器制作的超孔压测量探杆,可以实现对超孔压的直接、高精度测量。但此种传感器存在一定的缺陷,在压差超过量程一定范围时,会造成光纤的拉伸断裂,只有受到一定程度的压缩使其处于松弛状态时才是安全的。采用重力式贯入的方法,贯入过程中产生的极大超孔压会使得光纤受拉断裂,从而使得设备损坏,目前尚未有一种深海底超孔隙水压力测量探杆量程保护装置。
为此,开云电竞网址山东省海洋环境地质工程重点实验室刘涛副教授,发明了一种海床孔压动态响应传感设备过压保护装置,以克服现有技术的不足。本发明能够很好地解决目前超孔压探杆布放过程中,光纤光栅传感器测量时易出现的超量程损坏问题,使传感器能够处于一个量程允许的压差范围内,以保证孔压探杆更好的长期服务于现场原位观测。
本发明装置结构简单、制作成本低、工作可靠,能够在不影响超孔压测量探杆正常使用的情况下实现量程保护。探杆贯入海床沉积物的过程中,管壁外侧产生过大的超孔压会使该装置内外贯通,使传感器两侧压力平衡,从而达到量程保护的目的;当超孔压消散,装置自动隔断管内外联系,此时传感器两侧压力差即为所测超孔压。
以上孔压探杆量程保护技术已获得国家发明专利授权3项:
ZL201510224450.3、ZL201510676147.7、ZL201510224449.0

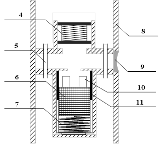
图1 本发明的深海底超孔压测量探杆量程保护装置示意图

图2 本发明的深海底超孔压测量探杆量程保护装置结构示意图

图3 本发明的保护装置在探杆贯入海底沉积物过程中示意图

图4 本发明的保护装置在环境超孔压消散、开始测量示意图
